【家庭用 押さえ】ソーイングの用品は何でも揃っています。

ビクター産業株式会社のトップへ
糸ブログ
商品検索ブログ
ビクター産業株式会社のトップへ会社案内商品一覧技術の情報製品使用事例資料請求お問い合せコラム

PRODUCT INFORMATION
モーター
ミシンモーター
ミシンモーターベルト
消耗品
ミシン使用部品
押エ
ボタンホール(穴かがり器)
サイドカッター
ヒダ取り
ボビン・ボビンケース
ミシン針
糸通し
ミシンのコントローラー
ミシンの電源コード
ライトと替え球
メーカー純正部品
 マミーロック部品
 ジャノメ(水平釜)専用押さえ・パーツ
 ジューキ専用押さえ・他
 トヨタミシン(アイシン)関連
ベビーロック 関連(メス他)
家庭用アンティークミシン関連
その他・チャコ・カッター・ハサミ・足踏みベルト・スプレー各種

 

糸
フジックス糸
ししゅう糸
糸立て
 
仕上げ用品
アイロン
アイロン台
仕上げ馬
万十
バキューム台 (ベビープレッサー)
人体
裁ち台
ビニ板
モーター
イス
オイル
ポータブルケース
ミシンテーブル

検針器

ミシン ミ シ ン の 洋 裁 用 語 集
ミシン本体 製品
アンティークミシン
お勧めのミシン
ハンドミシン
トップ > 商品一覧 >押さえ >押エの規格

押エ
家庭用

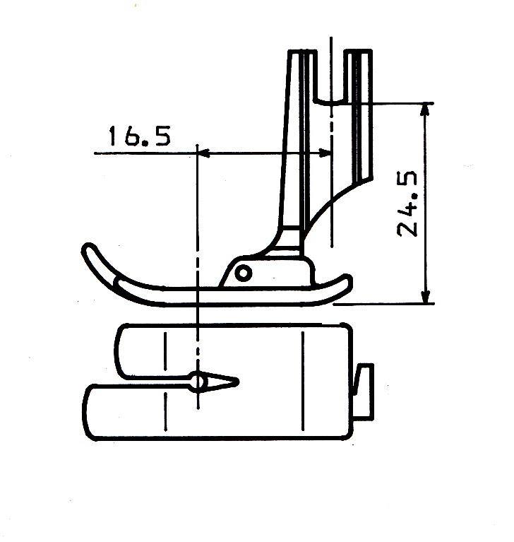
家庭用押エの規格

 

家庭用押え 規格

家庭用規格 押え

 

 

家庭用ミシンの押えのサイズです。

 

このサイズ以外は メーカー純正の押えをお使い下さい。

 

←画像をクリックして頂くと大きくご覧になれます。

   
職業用 押え

 

職業用・工業用ミシンのサイズです。

職業用・工業用の押えは家庭用ミシンとは規格が違いますので使えません。

 

画像をクリックして頂くと、大きくご覧いただけます。

     
   

 
   

ページのトップへ
サイトマップ お取引について プライバシーポリシー 著作権と免責事項 特定商取引法の表示
COPYRIGHT(C)2009 VICTOR. ALL RIGHTS RESERVED.